Recherche Produits

Rechercher   effacer

CATALOGUE COMPLET Joints de piston GDEM 122 Articles

 

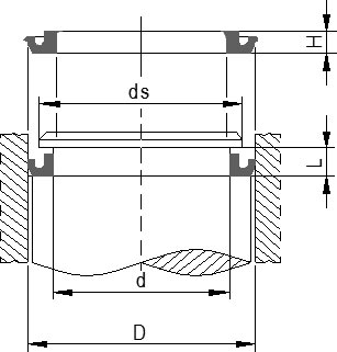
DESSINS

GDEM: u seal single acting seal
Matériel vitesse m/s température °C pression Mpa
Epdm 1 -40 +160 1,6
Hnbr 0,5 -30 +150 1,6-16
Nbr 0,25 -30 +110 12
Sbr 0,25 -10 +70 12
Silicon 0,25 -60 +220 12
Viton 0,25 -20 +200 12
  • GDEM


Les joints GDE-GDEM sont faits de NBR 75 shore A. Ils travaillent comme élément d'étanchéité sur les pistons de vérins pneumatiques et hydrauliques. Elles sont produites par une précharge, de sorte qu'ils sont plus petits que la taille nominale des rainures. Une fois placé dans la rainure de logement, les lèvres externes atteignent la taille prédéterminée. La dureté du matériau facilite l'assemblage.
La lèvre intérieure, avec une fonction d'étanchéité statique, est plus élevée et plus épaisse que la lèvre extérieure et assure l'arrêt du joint d'étanchéité contre des déplacements axiaux.
Le GDE sont montés sur les pistons dans les tailles pouces et ils ont des lèvres avec une coupe nette de pointe. Le GDEM sont plutôt montés sur les pistons avec la taille métrique et ont les lèvres définies avec une coupe négative.
En plus du matériel standard, sur demande, ils peuvent être fournis dans d'autres composés, tels que: FKM (Viton), EPDM, VMQ (Silicon).  

GDEM VOUS POUVEZ REMPLACER PAR: - KNA23 - LDEMP - DE - OUHR - PDE - DEP

Vidéo

articles connexes


2 PZ SET ESTRATTORI X GUARN.
Trier par:
Avail.:
Marque:
Matériel:
Prix ​​spécial:
Description Marque Dimensions(mm) Matériel Avail. (UN)
K108-F03 O-R 836 D.070,2x059x4,2
01.K108F.07020594
    0,00 - 59,00 - 4,20 Viton -
C2 C025 N3584 D.006x003x3
01.C2000.006003
    6,00 - 3,00 - 3,00 Nbr -
C2 1020 N3584 D.010x005x3,5/4
01.C2000.005010
    10,00 - 5,00 - 3,50 Nbr -
HD-P02 N85-N116 D.010x006x4,2/4,7
01.HD000.010006
    10,00 - 6,00 - 4,20 Nbr -
GDEM 12-6 D.012x006x4
01.GDEM0.012006
    12,00 - 6,00 - 4,00 Nbr 140
1674 Dispo dans 7 jours DOP
NA 150 40421754 D.012x006x4
01.NA150.0120064
    12,00 - 6,00 - 4,00 Nbr -
VITON GDEM 12-6 D.012x006x4
01.GDEMV.012006
    12,00 - 6,00 - 4,00 Viton 44
17 Dispo dans 7 jours DOP
C2 1045 V8750 D.012x008x3/3,5
01.C2VIT.01208070
    12,00 - 8,00 - 3,00 Viton -
C2 1066 N3584 D.014x008x4
01.C2000.008014
    14,00 - 8,00 - 4,00 Nbr -
GDEM 16-10 D.016x010x4
01.GDEM0.016010
    16,00 - 10,00 - 4,00 Nbr 175
NA 150 40421755 D.016x010x4
01.NA150.0160104
    16,00 - 10,00 - 4,00 Nbr -
VITON GDEM 16-10 D.016x010x4/4,5
01.GDEMV.016100
    16,00 - 10,00 - 4,00 Viton 20
GDEM NBR 75SH 067/2 D.017x010x4/5
01.GDEM0.017010
    17,00 - 10,00 - 4,00 Nbr 491
C2 1092 N3584 D.018x010x5,5
01.C2000.018010
    18,00 - 10,00 - 5,50 Nbr -
GDEM 20-12 D.020x012x5,5
01.GDEM0.020000
    20,00 - 12,00 - 5,50 Nbr 191
NA 150 40421756 D.020x012x5,5
01.NA150.0200125
    20,00 - 12,00 - 5,50 Nbr -
VITON GDEM 20-12 D.020x012x5,5/7
01.GDEMV.020012
    20,00 - 12,00 - 5,50 Viton 210
E4 2014 N3578 D.020x014x4/4,5
01.E4000.020014
    20,00 - 14,00 - 4,00 Nbr -
C2 2020 N3584 D.022x014x5,5/6
01.C2000.022014
    22,00 - 14,00 - 5,50 Nbr -
EPDM GDEM 25 D.025x017x5,5
01.EPDEM.025000
    25,00 - 17,00 - 5,50 Epdm -
GDEM 25 D.025x017x5,5
01.GDEM0.025000
    25,00 - 17,00 - 5,50 Nbr 1.427
1488 Dispo dans 7 jours DOP
GDEM SILICONE 025 D.025x017x5,5
01.GDEMS.025000
    25,00 - 17,00 - 5,50 Silicon -
NA 150 40421757 D.025x017x5,5
01.NA150.0250175
    25,00 - 17,00 - 5,50 Nbr -
VITON GDEM 025 D.025x017x5,5
01.GDEMV.025000
    25,00 - 17,00 - 5,50 Viton 82
K01-R-NBR D.026x018x5,8/6
01.K01N0.026018
    26,00 - 18,00 - 6,00 Nbr 22
U-K101 NBR 85SH D.028x018x7 L SEDE
01.GDEM0.028000
    28,00 - 18,00 - 7,00 Nbr 30 !!
C2 2065 N3584 D.020x28x5,5/6
01.C2000.020028
    28,00 - 20,00 - 5,50 Nbr 60
K01 EPDM D.030x020,5x6,35/8
01.K01EP.020030
    30,00 - 20,50 - 6,35 Epdm -
C2 3018 N3510 D.030x022x5,5 HNBR
01.C2HNB.030022
    30,00 - 22,00 - 5,50 Hnbr -
C2 3018 N3584 D.030x022x5,5
01.C2HNB.030022NBR
    30,00 - 22,00 - 5,50 Nbr 7
C2 3030 N3584 D.032x022x7/7,5
01.C2000.032022
    32,00 - 22,00 - 7,00 Nbr -
K59 NBR 032 D.032x024x3,25
01.K59NB.032000
    32,00 - 24,00 - 3,25 Nbr 518
+ 39 du 11/11/25
VITON NAPN 49041663 D.032x024x4/5,5
01.NAPNV.032024
    32,00 - 24,00 - 4,00 Viton -
C2 3035 N3510 D.032x024x5,5 HNBR
01.C2HNB.032024
    32,00 - 24,00 - 5,50 Hnbr -
GDEM 32 D.032x024x5,5
01.GDEM0.032000
    32,00 - 24,00 - 5,50 Nbr 2.495
NA 150 40421758 D.032x024x5,5
01.NA150.0320245
    32,00 - 24,00 - 5,50 Nbr -
SBR GDEM 32 D.032x024x5,5
01.GDEM0.032SBR
    32,00 - 24,00 - 5,50 Sbr -
VITON GDEM 032 D.032x024x5,5
01.GDEMV.032000
    32,00 - 24,00 - 5,50 Viton 60
VITON K23-032 D.032x024x5,5
01.K23VI.032024
    32,00 - 24,00 - 5,50 Viton -
VITON NAPN 49041663 D.032x024x5
01.NAPNV.0320245
    32,00 - 24,00 - 5,50 Viton -
GDEM SILICONE 032 D.032x024x7/5,5
01.GDEMS.032000
    32,00 - 24,00 - 7,00 Silicon -
C2 3050 N3584 D.025x35x7/7,5
01.C2000.025035
    35,00 - 25,00 - 7,00 Nbr -
VITON K23 035/3 D.035x025x7/8
01.K23VI.035025
    35,00 - 25,00 - 7,00 Viton -
GDEM 40 D.040x030x7
01.GDEM0.040000
    40,00 - 30,00 - 7,00 Nbr 990
NA 150 40421759 D.040x030x7
01.NA150.0400307
    40,00 - 30,00 - 7,00 Nbr -
VITON GDEM 040 D.040x030x7/8,5
01.GDEMV.040000
    40,00 - 30,00 - 7,00 Viton 54
K108-F01 D.044,40x042,40x2,85 H
01.K108F.044042F01
    44,40 - 42,40 - 2,85 Ptfe -
VITON K23-050/5 D.050x038x6,0
01.K23VI.050386
    50,00 - 38,00 - 6,00 Viton -
GDEM 50 D.050x040x7
01.GDEM0.050000
    50,00 - 40,00 - 7,00 Nbr 1.051
3237 Dispo dans 7 jours DOP
GDEM SILICONE 050 D.050x040x7
01.GDEMS.050000
    50,00 - 40,00 - 7,00 Silicon -
NA 150 40421760 D.040x050x7
01.NA150.050040
    50,00 - 40,00 - 7,00 Nbr -
VITON GDEM 050 D.050x040x7
01.GDEMV.050000
    50,00 - 40,00 - 7,00 Viton 29
18 Dispo dans 7 jours DOP
VITON NAPN 49041665 D.050x040x7
01.NAPNV.0500407
    50,00 - 40,00 - 7,00 Viton -
C2 5012 N3584 D.042x50x8/8,5
01.C2000.042050
    50,00 - 42,00 - 8,00 Nbr -
K101-V01 VITON/BROWN D.050x043,8x4,8
01.K101V.0500434
    50,00 - 43,80 - 4,80 Viton -
GDEM 55-45 D.055x045x7
01.GDEM0.055450
    55,00 - 45,00 - 7,00 Nbr 359
VITON GDEM 55-45 D.055x045x7
01.GDEMV.055450
    55,00 - 45,00 - 7,00 Viton -
GDEM 60-48 D.060x048x6/7
01.GDEM0.060048
    60,00 - 48,00 - 6,00 Nbr -
GDEM 60-50 D.060x050x7/8,5
01.GDEM0.060050
    60,00 - 50,00 - 7,00 Nbr 245
+ 500 du 27/10/25
VITON GDEM 60-50 D.060x050x7/8,5
01.GDEMV.060050
    60,00 - 50,00 - 7,00 Viton -
GDEM 63 D.063x053x7
01.GDEM0.063053
    63,00 - 53,00 - 7,00 Nbr 455
805 Dispo dans 7 jours DOP

+ 2000 du 27/10/25
NA 150 40421761 D.063x053x7
01.NA150.0630537
    63,00 - 53,00 - 7,00 Nbr 60
PS 72 NBR D.063x053x7/8
01.PS720.063053
    63,00 - 53,00 - 7,00 Nbr -
VITON GDEM 063 D.063x053x7
01.GDEMV.063000
    63,00 - 53,00 - 7,00 Viton 115
VITON NAPN 49041666 D.063x053x7
01.NAPNV.0630537
    63,00 - 53,00 - 7,00 Viton -
GDEM 65 D.065x053x10
01.GDEM0.065053
    65,00 - 53,00 - 10,00 Nbr -
GDEM 65-55 D.065x055x7
01.GDEM0.065055
    65,00 - 55,00 - 7,00 Nbr 84
VITON GDEM 65-55 D.065x055x7/8,5
01.GDEMV.065055
    65,00 - 55,00 - 7,00 Viton -
C2 6063 N3584 D.067x057x7/7,5
01.C2000.067057
    67,00 - 57,00 - 7,00 Nbr -
GDEM 70 D.070x054x12 MUKPN
01.GDEM0.070054
    70,00 - 54,00 - 12,00 Nbr 3
GDEM 70-58 D.070x058x8,5
01.GDEM0.070058
    70,00 - 58,00 - 8,50 Nbr 24
+ 150 du 01/12/25
NA 150 40421762 D.070x058x8,5
01.NA150.0700588
    70,00 - 58,00 - 8,50 Nbr -
VITON GDEM 70-58 D.070x058x8,5
01.GDEMV.070058
    70,00 - 58,00 - 8,50 Viton 3
GDEM 75-63 D.075x063x8,5
01.GDEM0.075063
    75,00 - 63,00 - 8,50 Nbr 71
VITON GDEM 75-63 D.075x063x8,5
01.GDEMV.075063
    75,00 - 63,00 - 8,50 Viton 5
GDEM 80/1 D.080x064x12
01.GDEM0.0806412
    80,00 - 64,00 - 12,00 Nbr 8
VITON NAPN 49041667 D.080x068x8,4
01.NAPNV.0800688
    80,00 - 68,00 - 8,40 Viton 20
GDEM 80 D.080x068x8,5
01.GDEM0.080000
    80,00 - 68,00 - 8,50 Nbr 812
NA 150 40421763 D.080x068x8,5
01.NA150.0800688
    80,00 - 68,00 - 8,50 Nbr -
VITON GDEM 080 D.080x068x8,5
01.GDEMV.080000
    80,00 - 68,00 - 8,50 Viton 5
C2 8015 V3664 D.080x068x9,5
01.C2VIT.080068
    80,00 - 68,00 - 9,50 Viton -
GDEM 85-73 D.085x073x8,5
01.GDEM0.085073
    85,00 - 73,00 - 8,50 Nbr 171
135 Dispo dans 7 jours DOP
GDEM 90-78 D.090x078x8,5
01.GDEM0.090078
    90,00 - 78,00 - 8,50 Nbr 172
+ 240 du 27/10/25
DK01-R NBR 85SH D.100x083x12,6/13
01.DK01R.100083
   100,00 - 83,00 - 12,60 Nbr -
VITON NAPN 49041668 D.100x088x8,4
01.NAPNV.1000888
   100,00 - 88,00 - 8,40 Viton -
GDEM 100 D.100x088x8,5
01.GDEM0.100000
   100,00 - 88,00 - 8,50 Nbr 596
NA 150 40421764 D.100x088x8,5
01.NA150.1000888
   100,00 - 88,00 - 8,50 Nbr -
VITON GDEM 100 D.100x088x8,50
01.GDEMV.010000
   100,00 - 88,00 - 8,50 Viton 32
PS 72 NBR D.100x090x7,2/8
01.PS720.100090
   100,00 - 90,00 - 7,20 Nbr -
GDEM 105-93 D.105x093x8,5
01.GDEM0.105930
   105,00 - 93,00 - 8,50 Nbr 24
K01 VITON 80sh D.107,95x088,9x12,7 - 425350
01.K01VI.10708812
   107,95 - 88,90 - 12,70 Viton -
C2 B010 N3584 D.110x095x10/11
01.C2000.110095
   110,00 - 95,00 - 10,00 Nbr -
GDEM 110-98 D.110x098x8,5
01.GDEM0.110980
   110,00 - 98,00 - 8,50 Nbr 44
+ 10 du 22/12/25
GDEM SILICONE 110-98 D.110x098x8,5/10
01.GDEMS.110098
   110,00 - 98,00 - 8,50 Silicon -
GDEM 120-105 D.120x105x10
01.GDEM0.120105
   120,00 - 105,00 - 10,00 Nbr 99
VITON GDEM 120 D.120x105x10
01.GDEMV.012000
   120,00 - 105,00 - 10,00 Viton -
NA 150 40421765 D.125x010x10
01.NA150.12501010
   125,00 - 10,00 - 10,00 Nbr -
GDEM SILICONE 125 D.125x100x10
01.GDEMS.125000
   125,00 - 100,00 - 10,00 Silicon -
GDEM 125 D.125x110x10
01.GDEM0.125000
   125,00 - 110,00 - 10,00 Nbr 269
VITON GDEM 125 D.125x110x10
01.GDEMV.012500
   125,00 - 110,00 - 10,00 Viton 65
NA 150 40421766 D.140x025x10
01.NA150.14002510
   140,00 - 25,00 - 10,00 Nbr -
GDEM 140-125 D.140x125x10
01.GDEM0.140125
   140,00 - 125,00 - 10,00 Nbr 112
VITON GDEM 140-125 D.140x125x10
01.GDEMV.014000
   140,00 - 125,00 - 10,00 Viton -
GDEM 145-130 D.145x130x10
01.GDEM0.145130
   145,00 - 130,00 - 10,00 Nbr 8
GDEM 150-135 D.150x135x10
01.GDEM0.150135
   150,00 - 135,00 - 10,00 Nbr 95
VITON GDEM 150 D.150x135x10
01.GDEMV.015000
   150,00 - 135,00 - 10,00 Viton 40
NA 150 40421767 D.160x045x10
01.NA150.16004510
   160,00 - 45,00 - 10,00 Nbr -
GDEM 160 D.160x145x10
01.GDEM0.160000
   160,00 - 145,00 - 10,00 Nbr 425
478 Dispo dans 7 jours DOP
GDEM SILICONE 75SH FDA ROSSO 160 D.160x145x10
01.GDEM0.160SIL
   160,00 - 145,00 - 10,00 Silicon fda -
VITON GDEM 160 D.160x145x10
01.GDEMV.016000
   160,00 - 145,00 - 10,00 Viton 16
NA 150 40421768 D.180x060x14
01.NA150.18006014
   180,00 - 60,00 - 14,00 Nbr -
GDEM 180-160 D.180x160x14
01.GDEM0.180160
   180,00 - 160,00 - 14,00 Nbr 18
VITON GDEM 180-160 D.180x160x14
01.GDEMV.180160
   180,00 - 160,00 - 14,00 Viton -
GDEM 185-170 D.185x170x10/11
01.GDEM0.185170
   185,00 - 170,00 - 10,00 Nbr -
NA 150 40421769 D.200x080x14
01.NA150.20008014
   200,00 - 80,00 - 14,00 Nbr -
GDEM 200 D.200x180x14/15
01.GDEM0.200000
   200,00 - 180,00 - 14,00 Nbr 56
+ 300 du 09/12/25
VITON GDEM 200 D.200x180x14
01.GDEMV.020000
   200,00 - 180,00 - 14,00 Viton 48
GDEM 220-200 D.220x200x14
01.GDEM0.220200
   220,00 - 200,00 - 14,00 Nbr 11
22 Dispo dans 7 jours DOP
GDEM 250-230 D.250x230x14/17
01.GDEM0.250230
   250,00 - 230,00 - 14,00 Nbr 47
VITON GDEM 250-230 D.250x230x14
01.GDEMV.250230
   250,00 - 230,00 - 14,00 Viton 3
C2 Q010 N3584 D.280x300x15/16
01.C2000.280300
   300,00 - 280,00 - 15,00 Nbr -
GDEM 320-295 D.320x295x14/15
01.GDEM0.320295
   320,00 - 295,00 - 14,00 Nbr -

 
Trier par:
Avail.:
Marque:
Matériel:
Prix ​​spécial: